自主研發產品擁有多項國家級專利,產品通過ISO9001質量管理體系認證
無錫市金匯鋼管有限公司自2004年成立以來,積累了豐富的鋼管生產經驗。專業生產經營各種考登鋼管、ND鋼管、翅片管、搪瓷管、螺旋槽管等鋼管產品。
無錫市金匯鋼管有限公司擁有豐富實踐經驗的生產人員隊伍,形成了從研發、設計、制造、檢測到售后服務等成熟的出廠流程。在嚴格控制質量的同時,加大對產品的質量檢測,擁有全套生產設備與檢測手段,保證出品最好的產品。
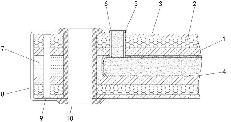
無錫市金匯鋼管有限公司具有豐富實踐經驗的中高級技術骨干隊伍和富于開拓精神的領導把握鋼管新技術的開發方向。公司擁有雄厚實力,專業生產技術,優良品質。產品具有規格齊全,光潔度高,焊管不變形,壓扁無裂縫等特點。
金匯鋼管可根據客戶要求定制不同材質和不同規格的管材。并且擁有專員檢驗、入庫、出庫,并跟蹤配貨,保證貨物從訂貨開始到送至客戶指定地點。完善的售前、售中、售后服務,讓客戶無后顧之憂。
一貫奉行"質量第一,信譽至上,長期合作,互惠互贏"的宗旨。始終堅持"科技、質量、效益"的發展理念

設計、生產、測試、交付嚴格把關
無錫市金匯鋼管有限公司,坐落在風景秀麗的太湖之濱,312國道旁邊,交通十分方便。公司自2004年成立以來,擁有先進的專業生產設備,精湛的制作工藝,產品規格齊全。平均每年供貨達25000噸以上的各種優質空氣預熱器管、鍋爐管、考登鋼管、ND鋼管、翅片管、搪瓷管、螺旋槽管等各種管材及板材......
點擊了解更多金匯鋼管擁有先進的專業生產設備,精湛的制作工藝